众所周知,白酒企业上市难。
数据显示,截至2024年6月,中国现存白酒相关企业18.65万家,但上市白酒企业仅21家。
还有一堆知名酒企想上市却上不了,比如习酒、郎酒、西凤酒、国台酒业等。它们没干成的事,如今却让一个名不见经传的四川小酒企先干成了。
5月13日,昔日的珠宝商中国环保能源(00986.HK)摇身一变,成了“杜甫酒业集团”。原本股价仅剩6分钱的仙股,“沾酒”后暴涨,6个交易日股价大涨了127%。
据部分媒体报道,杜甫酒业集团不仅成了中国白酒行业第22家上市公司,也是继珍酒李渡(06979.HK)之后的“港股白酒第二股”。
这场看似“逆袭”的上市狂欢,本质上却是一场游走在规则边缘的资本游戏。
区域酒企的上市执念
公开资料显示,四川杜甫酒业集团股份有限公司(简称杜甫酒业)位于四川省绵竹市,前身为绵竹县曲酒二厂。2013年,汪中林、汪佳、汪浩然三人成立如今的杜甫酒业,旗下有“杜甫核心”、“杜甫文化”等系列产品。
如今掌控着这家公司的人叫彭作权。关于彭作权的公开报道极少。《川商》杂志曾在一篇文章中提及,彭作权以前是资深媒体人,后来又从事酒类的商业策划工作。
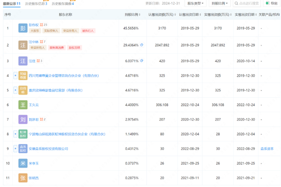
根据绵竹市政协文史委发布的一篇文章,2013年,时年近40岁的彭作权已在酒业界拼闯十几年,在杜甫酒业考察多次后,与杜甫酒业创始人汪中林达成合作意向。2017年,经营困难的杜甫酒业进行了重组,而后在2018年5月,彭作权出任杜甫酒业董事长兼CEO,同时也是公司的大股东,持股45.56%。
自彭作权加入后,杜甫酒业便执着于登陆资本市场。
2018年初,杜甫酒业进入天府股权交易中心“一带一路”板挂牌;2021 年 5 月,杜甫酒业集团旗下子公司杜甫酿酒登陆美国纳斯达克资本市场;2021年6月,“杜甫酒业”商标在香港联合国际知识产权交易中心正式挂牌上市交易。
2021年9月,杜甫酒业举行杜甫酒业香港上市启动发布会,与上海伴榕投资管理有限公司、湖北山河律师事务所等机构签订上市战略合作协议。
当时彭作权放出豪言:借助“杜甫酒业”商标上市所带来的资本红利,杜甫酒业的资本化路径将更加完备,未来杜甫酒业将整合所有资源,集中打造杜甫酒这一超级 IP,实现百亿乃至千亿的品牌价值。
企查查显示,杜甫酒业在2020年和2022年先后完成了两轮战略融资,先后引入上海景恬实业集团与森系资本两大机构投资者。
然而,四年多来,杜甫酒业再也没有公开披露香港上市的具体进展。
直到今年2月底,港股珠宝商中国环保能源(0986.HK)公告表示,已与杜甫酒业订立销售代理协议,将作为杜甫酒业在特定市场的销售代理,负责杜甫酒的推广及销售,同时拟更名为“杜甫酒业集团”。
杜甫酒业之所以选择这种方式上市,或许是因为自身还满足不了港股上市的条件,所以只能另辟蹊径。
这些年,杜甫酒业并未披露过具体业绩情况,只有绵竹市融媒体中心一篇文章提到,杜甫酒业董事、副总裁汪佳曾介绍称,2024年前三季度公司实现产值超过亿元,销售收入同比增长30%。
杜甫酒业的实际经营状况并不乐观。企查查显示,杜甫酒业和彭作权均是被执行人,汪中林也被限制高消费,他所持股权已经被冻结。杜甫酒业身为被告的诉讼数量多达36起,案件金额累计607万元,涉及民间借贷纠纷、买卖合同纠纷、追索劳动报酬纠纷等等。另外,杜甫酒业还有欠税行为。
不管怎样,彭作权多年的上市梦也算是以一种比较特别的方式实现了。据多家媒体报道,5月13日,中国环保能源更名那天,杜甫酒业在四川成都锦江宾馆举行了隆重的主板更名上市暨开市仪式。
只是,这种上市方式,争议颇大。
充满争议的“借壳”游戏
这场看似是“借壳上市”的资本运作,实则暗藏玄机。
不同于传统的借壳上市,杜甫酒业与中国环保能源的合作更像是一场“代理权绑定+品牌名称更换”的轻资产游戏。
根据双方协议,杜甫酒业无需进行股权置换或资产注入,仅通过独家代理协议与中国环保能源设立3年1.5亿元销售额对赌条款,后者获得杜甫酒在中国港澳台地区、日韩及东南亚等14个市场的独家销售权。
若履约达标,中国环保能源可额外获取1%的业绩分成。若最后没达标,中国环保能源也不用承担任何后果。
中国环保能源的股东结构也没发生任何变动。香港交易所披露易网站显示,截至5月14日,杜甫酒业集团有限公司(非四川杜甫酒业集团有限公司)两名大股东郭莎和董倩,分别持股4700万股和4000万股,占已发行的有投票权股份比例为8.28%、7.04%。
简单来说,这更像是一场“换个名字,联手卖酒”的商业合作,而非真正意义上的借壳上市。因此,这场资本运作的争议很大。
有媒体报道称,杜甫酒业为白酒业探索出新的IPO方式,完成了从区域酒企到“诗酒第一股&川酒港股第一股”的跨越。
也有媒体质疑称,这只是一场资本炒作。中国环保能源原本只是一只默默无名的仙股,跟白酒沾边后,四个交易日内股价涨幅高达110.61%,手持公司4700万股的大股东郭莎浮盈逾343万港元。
专业的投资人士和法律人士均认为,这不算借壳上市。香颂资本董事沈萌认为,公司所有权没有发生变动的情况下,杜甫酒业不算借壳上市;竞天公诚律师事务所资深合伙人戴冠春也认为,只是更名应该不构成借壳上市。
另外,三年1.5亿元销售对赌协议,也是争议焦点。因为中国环保能源来说,每年要卖出5000万元的白酒,难度很大。
东南亚是白酒出海的热门地区。2024年以来,茅台、泸州老窖、洋河、泸州老窖、舍得、西凤等多家酒企密集布局东南亚市场,并将其列为出海主阵地。
在这样一个激烈的竞争环境中,一个以珠宝设计和放贷为生,且连年亏损的公司,能有多大的竞争力?所以,三年1.5亿元的销售目标有点不靠谱。
中国环保能源之前主要从事珠宝设计和放贷业务,年收入长期不足1亿港元,而且在过去10个财年里,有7个财年亏损。财报显示,2024年,中国环保能源的营收为6605万港元,归母利润亏损1851.30万港元。
回顾这家公司改名的经历,或许能够发现其业绩惨淡的深层原因。中国环保能源是2011年3月由南兴集团(1979 年在香港成立)更名而来,南兴集团当初主营电子部件和电路板的生产、销售。
2006年至2011年期间,南兴集团连年亏损。“环保热”兴起后,南兴集团便改名为中国环保能源,但从事的却是珠宝、放贷等业务。可见,这家公司喜欢“挂羊头卖狗肉”,通过改名来误导投资者。
如今,再度深陷亏损泥潭的中国环保能源,需要白酒的故事来挽救股价,而杜甫酒业则借此机会圆了“上市梦”。
有点操之过急了
彭作权多年的“上市梦”勉强算实现了。然而,这种上市方式真的能助力杜甫酒业的发展吗?
一般而言,公司上市主要是为了融资,但杜甫酒业并未通过增发股票募集资金,所以不具备传统借壳方式的融资功能。
短期来看,杜甫酒业只是通过这次“上市”获得了大量关注,一定程度上提升了品牌知名度。
沈萌认为,杜甫酒业无论上市与否,在业绩上都很难实现突破,如果是真心做实业,或许现在不会急于搞资本运作。
自彭作权掌舵后,杜甫酒业的重心都放在了资本市场和文旅文创上面。彭作权想将杜甫酒业打造成“诗酒生活产业集团”,走“酒业+文旅+文创”路线。
杜甫酒业也很努力,注册了大量的文化商标。据企查查的数据,杜甫酒业的商标申请数量达949件,其中已注册商标647件,其中大部分商标都是在2018年之后才注册的。
据悉,杜甫酒业拥有杜甫、李白、商隐醉、苏子瞻、欧阳醉翁、陆放翁、杨慎等各类诗词文化系列商标,以及蜀汉刘备、武侯、蜀将张飞等三国历史名人商标。
为了打响文化IP,从2018年底开始,杜甫酒业便探索开展“杜甫文化之旅”酒旅体验项目,在成都杜甫草堂、宽窄巷子等旅游景点设立了杜甫酒体验馆。2020年10月,彭作权又宣称正在绵竹规划打造“杜甫诗酒小镇”、“武侯酒庄”,对标国外酒庄。
杜甫酒业的野心很大。
据证券时报2021年5月一篇报道,杜甫酒业打算在2021年-2025年实现产值10亿元、利税3亿元、市值50亿元、品牌价值100亿元的目标。同年9月,杜甫酒业又发布百城千“庄”计划,引入国际流行的酒庄“庄主制”,将产值目标提至百亿。
然而,理想很丰满,但现实却很残酷。快5年了,杜甫酒业的酒庄仍不见踪影。据《时代周报》报道,一名白酒投资人表示,打造有特色的、小而美的酒庄模式,对于中小型酒企未来发展来说是条出路,目前茅台镇有不少酒企在做尝试,但暂时没有成功案例。
杜甫酒业的产品没什么知名度,有网友表示,喝了40年白酒,从未听过“杜甫酒”。连四川的网友都表示没听过这个酒。产品线上销量也很惨淡。在淘宝杜甫酒业官方旗舰店,销量最高的产品历史仅成交56单,大部分产品0成交。
对于白酒企业而言,文化IP只是锦上添花,无法弥补根基不稳的弊端。白酒企业最核心的竞争力是产品和渠道,如果这两项都不够硬,诗圣的招牌再响亮,消费者也不会买单。
对于杜甫酒业而言,“上市”之后,更多的还是应该回归酒业本身,做好产品和渠道建设,借势此次资本化助力企业更加稳健地发展。



